YX2601

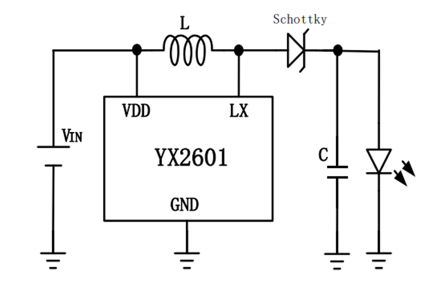
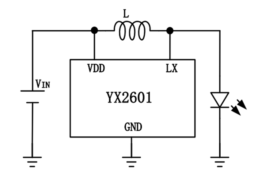
YX2601是我公司针对手电筒照明研发的LED驱动 IC,主要用于1-2节1.2V充电电池,或1-2节1.5V碱性电 池。最大能驱动1W的LED。

    • 产品特性

    • 应用场景

  • 低工作电压 0.9V ~ 3.2V

  • 高效率 80%以上

  • 1.5Ω 导通电阻

  • YX2601-1.png
  • YX2601-2.png
  • 移动手电筒

  • LED 头灯

  • LED 照明装饰灯

  • YX2601-1.png
  • YX2601-2.png
b3_img03.jpg
如您需要咨询产品更多信息,请点击“联系我们”,我们将尽快回复您!